: Home : : cor_radio.php?radio_box=25436 :
Search Radio by Make, Model, Year, and/or Country.
Click to Expand/Collapse OptionHome
Click to Expand/Collapse OptionNew on Site
Click to Expand/Collapse OptionImage Index
Click to Expand/Collapse OptionContact
Click to Expand/Collapse OptionBeitman's & Rider's
Click to Expand/Collapse OptionUseful Links
Click to Expand/Collapse OptionTechnical Info
Click to Expand/Collapse OptionTube/Valve
Click to Expand/Collapse OptionRadio Collection
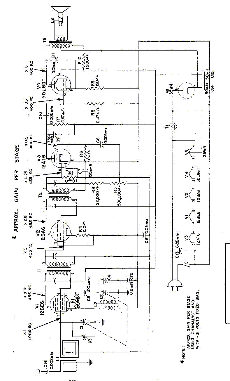
RADIOStandard Electric
MODEL1040TB
TECHNOLOGYTube
YEAR1951
MADE INUNITED STATES
WAVE BANDSBC
COVERAGE535 - 1605 Kc
DESCRIPTIONRight front dial, right and left horizontal wrap-around louvers, 2 knobs right below dial. Interesting tube complement: 1 GT tube as audio output and miniature 7 pin all others.
CABINET STYLEMantle
CABINET MATERIALBakelite
DIAL LAMP - N° x TYPE1 x 40
TONENo
CIRCUITSuperheterodyne
IF455 KC
POWER SUPPLYAC/DC
VOLTS105 - 120 Volts
CONSUMPTION27 W
AC CYCLES50-60 Hz
CHASSIS
TUBES LOCATION
TUBE COMPLEMENT | 12AT6 | 12BA6 | 12BE6 | 35W4 | 50L6 |
PICTURES(Click to enlarge image)
SCHEMATICS | Page1 | Page2 |
FROMFrom Mercado Livre

Radio 198 of 247, id 25436. Current page is 197. Server IP is 212.1.210.107.


Last modified: Jul 1, 2024 21:57
Cape Old Radio - Since Nov, 1996
1996 - 2025 © Carlos Eduardo Lazarini da Fonseca